你有没有想过,家里的自来水龙头为什么能自动关闭?或者工厂里的生产线为什么能精准控制液体的流量?这背后可都离不开一个神奇的装置——充液阀。今天,就让我带你一探充液阀的神秘面纱,看看这个小小的阀门是如何大显神通的!
一、什么是充液阀?
首先,得给你普及充液阀是一种用于控制液体流量的阀门。它广泛应用于工业、农业、建筑等领域,比如水厂、化工厂、农业灌溉系统等。简单来说,就是它负责调节液体流动的大小,就像家里的水龙头一样。
二、充液阀的工作原理
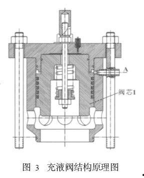
想知道充液阀怎么工作?那就得从它的构造说起了。充液阀主要由阀体、阀芯、弹簧、密封圈等部件组成。下面,我们就来一步步揭秘它的奥秘。
1. 阀体与阀芯:阀体是充液阀的主体,阀芯则是控制液体流动的关键。当液体进入阀体时,阀芯会根据压力变化来调节流量。
2. 弹簧:弹簧在充液阀中起到平衡作用。当阀芯受到液体压力时,弹簧会推动阀芯向上移动,从而打开阀门。
3. 密封圈:密封圈的作用是防止液体泄漏。在阀芯与阀体之间,密封圈起到了关键作用。
4. 工作原理:当液体进入充液阀时,压力会传递到阀芯上。如果压力超过设定值,阀芯会向上移动,打开阀门,液体开始流动。反之,如果压力低于设定值,阀芯会向下移动,关闭阀门,液体停止流动。
三、充液阀的优势
了解了充液阀的工作原理,接下来咱们聊聊它的优势。充液阀之所以能在各个领域广泛应用,离不开以下几个特点:
1. 精准控制:充液阀可以根据实际需求调节流量,实现精准控制。
2. 节能环保:通过调节流量,充液阀可以有效降低能源消耗,实现节能环保。
3. 安全可靠:充液阀具有较好的密封性能,能有效防止液体泄漏,确保生产安全。
4. 适应性强:充液阀适用于各种液体介质,如水、油、酸碱等。
四、充液阀的应用
充液阀的应用范围非常广泛,以下是一些典型的应用场景:
1. 水厂:在自来水厂中,充液阀用于调节水厂出水口的流量,确保供水稳定。
2. 化工厂:在化工厂中,充液阀用于控制化学反应过程中的液体流量,保证生产过程顺利进行。
3. 农业灌溉:在农业灌溉系统中,充液阀用于调节灌溉水的流量,提高灌溉效率。
4. 建筑行业:在建筑行业,充液阀用于调节消防用水、空调用水等,确保建筑安全。
五、充液阀的未来发展
随着科技的不断发展,充液阀也在不断创新。未来,充液阀可能会朝着以下几个方向发展:
1. 智能化:通过引入传感器、物联网等技术,实现充液阀的远程监控和智能调节。
2. 材料创新:采用新型材料,提高充液阀的耐腐蚀性、耐磨性等性能。
3. 节能环保:进一步降低能源消耗,实现绿色生产。
充液阀作为一项重要的技术,将在各个领域发挥越来越重要的作用。让我们一起期待它未来的发展吧!
转载请注明来自3D动漫网,本文标题:《充液阀工作原理视频,视频解析与概述》










京公网安备11000000000001号
京ICP备11000001号